作者luke417 ()
標題[心得] 一些地盒與地線比較 feat. Kojo金手榴彈
時間2024-11-15 11:19:14
此篇無任何商業合作
只從興趣角度出發,敬請放心
諸事繁忙,休刊半年多終於再開
先感謝進來看的版友
---------------------------------
之前聊過接地篇
這次繼續來聊一些地盒與地線
https://i.imgur.com/MbzrFWe.jpeg
https://i.imgur.com/KhjpO16.jpeg
---------------------------------
前情提要
電壓是相對值;要有電位差、才會形成電壓
先設定起點(0V)、才會有終點(兩者之間的電位差)
大地接地是「絕對參考0V電位」(真實接地)
電路GND是「相對參考0V電位」(虛擬接地)
(電路運作參考電位與電流的返回路徑)
https://www.kptc.jp/mtc/wp-content/uploads/2020_11-17.pdf
---------------------------------
有兩件事
蠻大程度會影響聲音表現:
-> 「電路GND參考電位」是否穩定
-> 「額外雜訊」干擾多寡
常見做法
將電路GND透過導線延伸
鎖在「器材金屬機殼」
https://i.imgur.com/NAomWzs.jpg
https://i.imgur.com/JEKYrfA.jpg
https://i.imgur.com/Z9ZMkQ7.jpg
可增加環路大小(接地容量)
穩定電位、吸收高頻雜訊、降低干擾
應該也不少人試過
將地線鎖在電腦機殼螺絲上
(越靠近電路GND位置螺絲越有感)
此時「器材金屬機殼」
可視作為「電路GND的延伸導體」
https://i.imgur.com/4AMcaUX.jpeg
也就是說
器材「機殼處理」
會影響電路GND穩定以及聲音表現
話雖如此
通常廠商都已事先做好相關處理
例如GND連接至機殼、針對機殼加工...etc.
基本上不太需要用戶多操心
---------------------------------
以用戶角度來看
不建議在機殼上面擺放「金屬物件」
(不建議在「電路GND的延伸導體」上面添加東西)
增加額外干擾風險之外
也影響振動處理(共振頻率)
擺放「絕緣物件」
例如裝飾品、滑鼠墊、PVC...etc.
影響性相對較小、見仁見智
(端看你的「講究程度」而定)
除了刻意導入的壓材、輔件或調音小物之外
建議避免擺放任何雜物在器材上
---------------------------------
附帶一提
如果是金屬機腳
上下器材疊放可能會互相影響
但有些情況,廠商會刻意透過類似設計
來做「自家器材之間的搭配」
例如Montaudio地盒
透過金屬機腳上下堆疊、串聯自家地盒:
上蓋處四個金屬接點
https://i.imgur.com/kyvLfyI.jpeg
對應位置:下蓋處四個金屬機腳
https://i.imgur.com/oKXTrwa.jpeg
上下堆疊,即可達成兩顆地盒串聯效果
https://i.imgur.com/iYtKsvE.jpeg
圖片來源出處與介紹:
https://tinyurl.com/4andcb7b
---------------------------------
除了機殼之外
輸出入線材與器材連通
可視作天線並帶有饋入訊號
也會帶來影響:
https://i.imgur.com/jZ1Epar.jpeg
來源出處:
Noise Suppression Basic Course Section1
Chapter 5 Conductor conduction and common mode
https://tinyurl.com/52ywthtk
簡單來說
機殼與線材都是「訊號地」處理過程中的影響因子
(線材並非本次主題,先大概知道有這件事就好)
---------------------------------
-> 訊號地的接地方案
https://i.imgur.com/uMpN7Bo.jpeg
單純以「接地容量變化」這檔事來看
接地方案
幾乎都是在機殼地「現有基礎」之上
增加接地總容量
---------------------------------
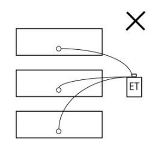
-> 地盒/地線的連接方式
這次以日本Audio Mijinko的圖例說明
(圖片來源:オーディオみじんこ)
https://i.imgur.com/Iazf6Zr.jpeg
「長方形框框」是器材
「ET」是地盒
https://i.imgur.com/2gBw626.jpeg
https://i.imgur.com/9ZJPqDK.jpeg
「效果更好」的使用方式
-> 一台器材,搭配兩顆地盒「串聯」
-> 一台器材,搭配兩顆地盒「並聯」
這邊實測是串聯/並聯兩者都不錯
沒有很明顯差距
有興趣的話
也可實測看看、哪種在你的系統更好一點
或是視情況選用
例如器材接駁端子不夠的話用「串聯」
地盒不易串接的話改用「並聯」...etc.
---------------------------------
https://i.imgur.com/9RWaEBO.jpeg
「效果更好」的使用方式
-> 每台器材,各自獨立配置一顆地盒
針對這點,這邊有
不同看法:
1. 先從「訊源段」開始配置
通常「訊源段」是最有感的位置
優先度可拉高些
2. 地盒並不見得越多越好
「地盒」的引入
等同於「增加更多調音變數」
八國聯軍不同調音如果沒有搭配好
反而可能更糟、徒增負面影響
優先配置在你想要的「關鍵位置」(例如訊源)
其實就很不錯了
---------------------------------
https://i.imgur.com/InSS5fU.jpeg
「效果不好」的使用方式
-> 複數器材,共用同一顆地盒
器材之間訊號線前後連通
原本就有「地迴路」存在
多器材共用地盒,則會構成額外地迴路
增加負面影響風險
(例如有些地盒採內部分艙設計以對應多器材)
https://i.imgur.com/eb4gaQU.jpeg
「效果打折扣」的使用方式
-> 使用長度過長的地線
天線效應吸收雜訊
依材質差異也可能導致效果打折扣
地線非常重要
很大程度會影響地盒表現
(材質、導電性、地盒適性以及調音走向)
甚至可說「地線重要性不亞於地盒」
---------------------------------
-> 聊聊幾款地盒聽感
總括來說
地盒導入聲音變化,大致類似如下:
=================
降低噪感
提高結像形體清晰度、背景黑度
音像定位更明確一點
細節拾取感更好一點
=================
(電路GND穩定之後的正向變化)
多數接地產品心得
應該都可看到
類似上述這些的聽感描述、大同小異
程度多寡
則依不同廠牌/產品型號而異
另外要留意
「接地效果」與「調音變化」兩者同時存在
選購產品評估「接地效果」的同時
也要考量「調音走向」影響
---------------------------------
接下來簡單聊聊幾款接地產品
(剛好都是金色、真香)
Kojo Crystal E-G
Kojo Crystal Eop-G
Increcable MVD-Earth EBA-3 ev
非常推薦先去看
Louis大大 之前發過的幾篇優文:
[心得] 配件系列心得 地盒篇
https://pttweb.org.tw/Headphone/M.1706460095.A.791
https://pttweb.org.tw/Headphone/M.1707659965.A.98B
這邊聽感大致與 Louis大大 相同
細節與介紹就不在此篇贅述
---------------------------------
Kojo Crystal E & E-G
(以下簡稱「E」&「E-G」)
https://i.imgur.com/Bk1hT9L.jpeg
舊款「E」單顆不太有感,兩顆才比較有感
新款「E-G」加大接地容量,但外殼體積不變
單論有感程度「E-G」>「兩顆E串接」>「E」
「E」日幣售價37,840
「E」兩顆同捆日幣售價68,200
http://kojo-seiko.co.jp/products/crystale
「E-G」日幣售價85,800
http://kojo-seiko.co.jp/products/crystaleg
其實「E」和「E-G」走向很類似
但原本就略淡一點的聲底
在效果不明顯的「E」顯得更不容易有感
推測也許因此官方推出了兩顆「E」同捆包
(透過串接提升有感程度)
對照聲音表現,假設預算足夠前提下
直接購入效果強化的新款「E-G」
會是更推薦的選擇
(「E-G」同樣可透過串接提升效果)
---------------------------------
Increcable MVD-Earth EBA-3ev
(以下簡稱「MVD3」)
https://i.imgur.com/8bxwH4H.jpeg
https://www.increcable.com/iearth
---------------------------------
*注意事項
手邊這顆「MVD3」是EBA-3ev金色型號(類比器材用)
其實「MVD3」對應各個位置
有推出了多達六種不同型號
如果你剛好是不同型號的用戶
也許聽感會有一點差異
---------------------------------
「E-G」
相對略偏中高頻一點
聲底略淡一點
聲音清晰度與空氣感更好
屬於整體均衡且不過度強調的類型
(特別注意這些描述是「相對」而言,並不是說「E-G」低頻不行)
各個位置都可擺
但個人推薦優先擺「訊源段」
「MVD3」
整體略偏向於中低頻強化感
形體感更好一點
聲底相對略濃一點
偏向於強調主體(包含人聲)的類型
短期試聽會覺得「MVD3」音響性更好、印象更強烈且有感
但久聽後其實「E-G」音響性也不錯只是風格差異
(這風格表現可能導致有些人還是偏無感XD)
曾聽其他燒友反應
mvd地盒影響活生感的狀況
這邊剛好沒遇到過,但推估幾個可能原因:
1. 壓材功能導致
可嘗試換不同位置、或先不壓器材看看
2. 調音走向剛好不搭、或是導入位置差異
可在不同系統配置、或不同位置實測看看
這題比較複雜
有些人如果原本調音走向與mvd不同
且不希望被影響的話
這時候改選擇E-G
反而會是比較合拍的選擇
(mvd個性略強於E-G)
不過這個要以實測為準
比較困難於只依賴鍵盤試聽
(實際試了會比較愛哪邊不一定)
3. 原配地線的鍋
mvd原配地線有點糟、可嘗試其它地線看看
---------------------------------
這兩款都是20K價位帶相當不錯的選擇
目前聽下來
想強化訊源,或是清透自然好搭配的走向
>> 推薦「E-G」更多一些
想針對單器材去補強的話(例如中低頻、形體感或人聲)
>> 推薦「MVD3」更多一些
---------------------------------
但要特別留意
「E-G」&「MVD3」有個共通問題
就是原配地線都很弱...
不確定是否廠商銷售策略使然
搭原配地線聲音相對散、悶、量感不佳
導致效果不明顯、活生感也可能受影響
尤其短期試聽階段
很容易因為原配地線,而誤殺這兩款地盒
(可惜了)
E-G的情況
有些店家推出搭官升線Clone2同捆販售方案
即便分開購買、Clone2也是相對實惠的價格
推測普及率應該不會很低
MVD3的情況
官升線G4是隔壁Clone2的四~五倍以上售價
推測mvd用戶,應該多半還是搭原配地線居多
如預算許可
非常推薦替換掉原配地線
不會因此飛天遁地
但至少可解放原有實力、或避免誤殺
---------------------------------
剛好聊到地線
同場加映、幾款不同價位帶的選項
Kojo Clone 2 地線
Increcable iGround G4 地線
Nordost QKORE Wire QRT 地線
Silver Running Platinum 地線
https://i.imgur.com/KhjpO16.jpeg
---------------------------------
地線選擇百百種,實在是太多了
上述之外的地線也可考慮
本次分享只是拋磚引玉、僅供參考
也歡迎推文分享更多不同地線聽感~
---------------------------------
個人認為
地線挑選有三個關鍵考量點:
==========================
1. 音響性
2. 與地盒之間的搭配適性
3. 調音走向
==========================
這次聊到的幾款地線
價位帶不同
因此存在一些音響性差異
(沒有上打,謝謝)
但第2點與第3點
與價位帶不一定有關
(不見得最貴就一定最好)
舉例來說G4雖然比較貴
但與不同地盒之間的搭配適性,就不一定都是最好的
音響線材都很重視搭配性
但地線作為地盒的關鍵成分
個人認為其「搭配適性」的比重又更高一些
---------------------------------
Kojo Clone2 地線
http://kojo-seiko.co.jp/products/ks-z2200yy
https://i.imgur.com/7GtjRlV.jpeg
Kojo 推出的原廠升級地線
日幣售價11,000
前一代的Clone1
是以PC-Triple C為基底製作
新一代的Clone2
則使用了4種不同銅材當基底:
https://i.imgur.com/z5eakQj.jpeg
超高純度6NCu(純度99.9999%)を中心に革新線材の高機能純銅線HiFC、高純度無酸素銅
線PCUHD、高純度無酸素銅OFCの4種類の素材を独自構成でハイブリッド化した、新導体
採用の高品質オーディオ専用アースケーブル。
Clone2 這條線我認為CP值非常高
有代理,購買方便
雖然價位帶是這四條之中最便宜的
但表現並不馬虎,經濟實惠,推薦~
---------------------------------
Increcable iGround G4 地線
https://www.increcable.com/iground
https://i.imgur.com/t2oFgOu.jpeg
Increcable 推出的原廠升級地線
台幣售價大約一萬多
線基是鍍銀離子搭6N級OCC銅線
那兩顆腫瘤官方稱之為「控震調聲應力環」
可降低電氣性和機械性震動導致的失真
這技術也有應用在Increcable自家其他線材
例如電源線、訊號線都可看到
G4不是最新型號
後續還有加強版的G4 Pro
以及新旗艦G5(印象中比地盒還貴)
https://i.imgur.com/6jgeqaO.jpeg
https://i.imgur.com/CHR3D02.jpeg
---------------------------------
Nordost QKORE Wire QRT 地線
https://www.nordost.com/qrt/qkore-ground-unit.php
https://i.imgur.com/zxsYytz.jpeg
台幣售價大約一萬多(價位帶低於G4)
Nordost 引以為傲微單絲帶螺旋避震技術 Micro Mono-Filament Technology 的 QKORE W
ire 監聽級地線。外皮部份選用氟化乙烯丙烯 FEP 作為絕緣素材,直徑達 16AWG 水平的
單支 6N (99.9999%) OFC 純銅導體,表面經過鍍銀處理,令內阻得以進一步下降。
---------------------------------
意外出現的挑戰者
https://i.imgur.com/oiwl3xz.jpeg
Silver Running Platinum 地線
https://silvermusica.shopselect.net/items/43563471
https://i.imgur.com/FHUwvJ5.jpeg
日幣售價14,500
Silver Running 銀色慢跑鞋
https://i.imgur.com/knvXDql.jpeg
.......呃不對
這個Silver Running是日本某個小作坊
地線是他們家招牌產品之一
https://i.imgur.com/voABCyJ.jpeg
但這牌在台灣冷門到不行
可先參照一些網路心得:
https://x.com/SilverRunning1/status/1386619747702239237
https://x.com/SilverRunning1/status/1387055525364338690
---------------------------------
組合變化太多、這次簡單測試
先以「DAC同軸輸入端子」為基準點
(雖然手邊這顆MVD3是類比器材用)
---------------------------------
[官配組合]
---------------------------------
E-G地盒 x Kojo Clone2 地線
與原廠地線相比是明顯有感升級
三頻提升(尤其中高頻)、細節拾取感更好
縱深與聲音尾韻更好一點
對照這次其它款地線
其實Clone2官升線價格相當實惠
升級有感,沒有明顯問題且均衡
表現相當穩 (不會想空想縫)
個人認為
E-G地盒搭Clone2地線
已是足夠退燒的好選項了,大推這組合
---------------------------------
MVD3地盒 x Increcable iGround G4 地線
這條線相當粗重,和原廠地線對比:
https://i.imgur.com/IvfvqEZ.jpeg
(......量級差了不只一階)
能量感十足、中低頻有感提升
音像略為趨前且細節不錯
會特化原本MVD3地盒強項
強調主體(包含人聲)的效果
但要留意
這條線在音響性良好的同時
也算是個性相對較強的聲底類型
如果聲底偏淡的其它廠牌地盒
「推測也許或許」
會有一點地線調音強過地盒的情況?
如果原本就喜歡mvd地盒優點的用戶
搭這條之後應該會更愛、大推這個組合
雖然我很想說
mvd地盒用戶可以無腦升這條
兩者走向實在非常搭
但售價已經一萬多的地盒
還要再加上一萬多的地線...確實不便宜
(新款G5又更貴些)
比較適合
原本就很喜歡mvd地盒聲音走向的用戶
且預算足夠的條件下再評估購入
附帶一提
擺在「耳擴位置」的話
如上述mvd地盒+G4搭配出來的聲音特性
推薦程度我認為可以再往上拉一些
---------------------------------
[不同的組合變化]
---------------------------------
E-G地盒 x Increcable iGround G4 地線
很不湊巧手邊這條G4是香蕉插(連接mvd地盒那側)
本次無法測試在E-G
---------------------------------
MVD3地盒 x Kojo Clone 2 地線
比mvd原廠線略好一些(尾韻更好)
整體來說合拍程度不如 E-G x Clone2
(E-G x Clone2真的穩)
搭mvd會有點不夠刺激的狀況
(但E-G地盒 x Clone2地線卻不會有這問題)
如果剛好是 E-G / mvd 兩者都有的用戶
還是可以嘗試,CP值很高
(起碼還是比mvd原配線好)
---------------------------------
E-G地盒 x Nordost QKORE Wire QRT 地線
MVD3地盒 x Nordost QKORE Wire QRT 地線
讓我意外的是
N家地線其實還蠻好搭配
實測後和這兩款地盒都搭得不差
但要留意這款地線是兩側都大Y
在E-G側連接則比較適合小Y或大小格的Y
https://i.imgur.com/IPq41kn.jpeg
https://i.imgur.com/ypHofla.jpeg
音響性佳、細節透明度與音像形體感好
染色相對低(淡)、癖性不明顯
在地線這個環節
如果希望音響性提升之餘
儘可能也降低額外調音影響的話
N家地線會是不錯選項之一
但這條價格也不算便宜
如不是為了上述聲音取向目的
則還是比較推薦N家地盒用戶購入
---------------------------------
E-G地盒 x Silver Running Platinum 地線
MVD3地盒 x Silver Running Platinum 地線
---------------------------------
Silver Running vs. Clone2
售價比Clone2略高一點
Silver Running帶點日系調音
(且人聲好聽)的細緻與凝聚感
卻同時有著不錯的形體感與層次感
單論音響性表現比Clone2更好些
雖然前面說
E-G搭Clone 2才是最穩最均衡的組合
(這組合基本上沒什麼問題)
但如果在日系調音同樣合拍前提下
想要再多一些小升級
那Silver Running會是不錯的選項
尾韻或是人聲情感表現上都優於Clone2
---------------------------------
Silver Running vs. G4
G4還是很強大的表現
(兩倍~三倍以上價格)
音響性、能量感、厚度、低頻擴散感都優於Silver Running
Silver Running優於G4的地方
則在於細緻感與凝聚感
以及日系歌單適性優於G4
略收束有彈性的低頻表現
G4則是偏擴散但有力的低頻表現
音像趨前、能量感好的特性
讓G4也有著不錯的人聲適性
不看地盒適性與調音喜好
單看總合表現的話G4還是更優(沒有上打)
但如果日系歌單
或是喜歡更好的尾韻表現
Silver Running則可能是更好的選項
(之後會專篇介紹一下銀跑)
---------------------------------
Silver Running缺點
1. 冷門小作坊,產量不多且購買不易
他們家東西無代理、無海外販售
可找代購從官方商店購買
https://silvermusica.shopselect.net/items/43563471
2. 冷門小作坊,販賣二手不易
他們家東西在日本有一定口碑
但在台灣卻是冷門到不行
如購入要有傳家的心理準備
(要注意)
有興趣的版友
建議可等這邊後續專篇介紹再評估
---------------------------------
總結來說
E-G 退燒選擇 & 全面強化
-> 原廠升級線 Kojo Clone 2 地線
MVD3 退燒選擇 & 全面強化
-> 原廠升級線 Increcable iGround G4 地線
(或新款的G4 Pro / G5)
E-G 想有一點小升級且人聲更強化
-> Silver Running Platinum 地線
MVD3 預算有限且想有不同路線變化,日系調音/細緻度更好一點
-> Silver Running Platinum 地線
E-G & MVD3
希望儘可能降低地線調音影響(越淡越好),且仍保有良好音響性
-> Nordost QKORE Wire QRT 地線
---------------------------------
最後補一個
近期讓我感到驚艷的接地道具
---------------------------------
Kojo Crystal Eop-G
(以下簡稱「Eop-G」)
https://i.imgur.com/5YMqJhB.jpeg
http://kojo-seiko.co.jp/products/crystaleopg
日幣售價198,000
Kojo在2024年推出的新產品
Eop-G金色手榴彈
聽感與簡介可參照Louis大大這篇:
[心得] 配件系列心得 [KOJO Eop-G 篇]
https://pttweb.org.tw/Headphone/M.1727535411.A.AE3
雖然產品賣點是「足球場大小的接地面積」
コンセントの先にサッカーフィールド!
https://i.imgur.com/IMQJtcY.jpeg
但「Eop-G」讓我印象最深刻的
不是什麼爆強音響性(足球場!)
不是把細節或音像往前凸顯或刻意強調
(營造出短期試聽很抓耳的感覺)
「Eop-G」是讓細節依舊浮現
但卻是很自然地融入在整體畫面
滑順延伸感、溫潤感、人聲情感好
調音好聽
且沒有明顯強調或突兀感
(這個其實蠻高明的)
這個BUFF效果
這邊測試是越往前擺,音樂性Buff似乎反而越不明顯
往後擺DAC或擴的話則相對更明顯一點
因此相較於
「放在牆上或前端做整體接地強化」
我個人比較喜歡
「針對關鍵器材去做調音BUFF」
的用法
讓「Eop-G」調音強項有更好發揮
搭配適性上沒有特別限制、都不錯
各器材都可以嘗試
也就是將這顆金色手榴彈
與想BUFF的器材,插在同一個壁插上
------------------
Kojo官方的推薦方案則不太一樣
官方稱之為「三神器」
Box地盒(E-G) + 端子類型(Ep) + 手榴彈(Eop-G)
Box地盒(E-G)針對機殼地GND強化
端子類型(Ep)針對器材內的電路GND強化
手榴彈(Eop-G)針對系統整體電源的GND強化
換言之
Eop-G擺在最前端(牆上)是一種用法
(音響性強化)
如上述提到針對關鍵器材BUFF則是另一種用法
(音樂性強化)
其實玩法位置是蠻多變化的
推薦用戶可多嘗試
弊社仮想アースシリーズはこれをもって「三種の神器」となり完結を迎えます。
BOX型仮想アースは装置のフレームGND強化を、スティック型は装置内の回路GND強化を
なし、コンセントプラグ型はシステム全体のGND強化の役目を担います。
------------------
https://i.imgur.com/9lkhSiv.jpeg
雖然「Eop-G」不便宜
但對照聲音表現,個人認為沒有溢價問題
有代理、購買方便
不搞限量或天價溢價
之前曾經試過或購入過一些
調音好聽的輔件
要嘛是效果不夠明顯
要嘛是限量停產或難以購買
要嘛是溢價嚴重、好聽但代價非常昂貴
相較之下
這顆「Eop-G」確實蠻值得推薦
---------------------------------
「Eop-G」注意事項:
1. 可多顆串聯擴充,(錢包)很危險
2. 拔插時要特別小心,直上直下以避免損壞
3. 這顆強項是補強音樂性,但不是刺激或強調力量的風格走向
(要留意與系統其它環節的搭配)
「Eop-G」主要透過地線pin來達成接地強化效果
因此水火線是絕緣樹脂材質,不是金屬
https://i.imgur.com/tUdCDGv.jpeg
絕緣樹脂材質會有斷裂疑慮
拔插時請特別小心
(如斷裂的話,會導致整顆手榴彈難以固定)
---------------------------------
閒聊
以此篇所提及產品,當作選項範圍的話
訊源位置
-> 推薦 E-G地盒 + Clone 2地線(或Silver Running地線)
-> 推薦 Eop-G金色手榴彈
(使用顆數依預算而定)
如前述
其實金色手榴彈的用法十分靈活
擺在牆上或訊源也相當不錯
------------------
DAC位置
-> 推薦 Eop-G金色手榴彈
(使用顆數依預算而定)
這邊傾向把喜歡的調音道具
擺在DAC位置去BUFF (或耳擴位置也可)
這時候Eop-G金色手榴彈會是不錯的選項之一
------------------
耳擴位置
-> 推薦 MVD3地盒 + Increcable G4地線(或Silver Running地線)
-> 或是推薦 Eop-G金色手榴彈
不喜歡mvd調音的話
Eop-G金色手榴彈也是不錯的選項之一
------------------
其實這篇
早在半年多前就要發出來
家裡有點狀況,導致延誤了一陣子
但也因此多補充了一點內容
近期慢慢上軌道之後
應該可以正常復刊了(吧
下回預告....
日本另一間冷門小作坊 Silver Running
or 保險絲續篇 (看哪個先完成)
https://i.imgur.com/Nm4mO9Y.jpeg
敬請期待~
--
※ 發信站: 批踢踢實業坊(pttweb.org.tw), 來自: 42.71.58.229 (臺灣)
※ 文章網址: https://pttweb.org.tw/Headphone/M.1731640762.A.D93
推 icekiba: 好,您11/15 11:30
推 henrylol: 先推再看11/15 11:31
推 Tosca: 推推~~~11/15 11:47
感謝樓上大大們助推
推 vae53begadb: 推,EG跟MVD真的是退燒組合,不過這兩個我目前全用11/15 11:57
→ vae53begadb: clone2地線,經濟實惠11/15 11:57
clone2給兩台用沒毛病
原線真的不太ok
推 AerobladeIII: 地盒地線相對是比較少人鑽研分享的,感謝L大11/15 11:59
感謝A大
推 Skrwuword: 好久不見Luke大! 先推再看11/15 12:35
您,感謝推
我想一下還有要補充哪個環節內容
推 fxck20202021: 先推再看!11/15 12:51
感謝XD
推 Ikaruwill: 路克大又勸敗了,但怎麼沒有評測Audio Mijinko的地雷和11/15 13:08
→ Ikaruwill: 地線11/15 13:08
有喔原本打算先衝Audio mijinko地線
但看到推特日本網友推薦
Audio mijinko ET地盒
+ Silver running地線的組合
(說比自家組合更優)
就改購入銀跑了
https://i.imgur.com/7yB83yr.jpeg
推 icekiba: 好,您11/15 11:30
推 henrylol: 先推再看11/15 11:31
推 Tosca: 推推~~~11/15 11:47
推 vae53begadb: 推,EG跟MVD真的是退燒組合,不過這兩個我目前全用11/15 11:57
→ vae53begadb: clone2地線,經濟實惠11/15 11:57
推 AerobladeIII: 地盒地線相對是比較少人鑽研分享的,感謝L大11/15 11:59
推 Skrwuword: 好久不見Luke大! 先推再看11/15 12:35
推 fxck20202021: 先推再看!11/15 12:51
推 Ikaruwill: 路克大又勸敗了,但怎麼沒有評測Audio Mijinko的地雷和11/15 13:08
→ Ikaruwill: 地線11/15 13:08
推 Jaygay240714: 推,等家裡專線完成也來玩一下11/15 13:19
推 shaylin3: 介紹好多地線讚讚,微退燒大佬會買來玩11/15 13:30
推 MITSUNAGI: silver running 看起來好像…(流口水11/15 14:03
推 jimmycccp: 實用,大推11/15 14:22
推 comipa: 推 Kojo手榴彈也是很想試試看11/15 17:42
推 Daedolon: increcable 地線看起來真生火11/15 18:20
推 louissyou: 推路克大文章,G4地線真的不錯強,用過就回不去了11/15 18:57
推 thomas790: 太猛了推用心 11/15 22:28
推 pobearla: 建議避免擺放任何雜物在器材上,樓下中槍XD 11/16 00:59
推 aria0520: 我我我11/16 01:13
→ aria0520: 之前遇到一個DAC有哼聲 切斷地迴路沒用 後來重物11/16 01:14
→ aria0520: 壓著就沒聲音了 搞半天是機殼在震11/16 01:14
→ aria0520: 所以我是堆雜物派的(誤11/16 01:14
推 lazybirdzzz: 推超優質心得,EOPG大家系統不同可以多試不同位置,11/16 01:24
→ lazybirdzzz: 我這邊往前放的效果較好 11/16 01:24
推 borisaladin: 推心得 不知道新的EP-G效果如何XD 11/16 12:05
推 aria0520: 我野蠻好奇EP-G的XD 不是也有個籃球場大小11/16 12:14
推 quillmane: 推,地盒的訊息比較少見,珍貴的經驗分享,感謝!11/16 14:54
推 ntcpa07: 推一個~ 11/16 22:25